Основы технологии литья под давлением Большое разнообразие изделий из пластмасс и широкий спектр требований к ним (потребительские, эксплуатационные, технические, экономические и дизайнерские) требуют использования и совершенствования технологии литья…
Разное
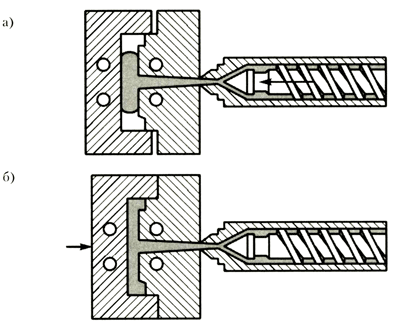
Формы для литья пластмасс под давлением (литьевые формы, пресс-формы) — это фундаментальные устройства, определяющие структуру и качество готового пластмассового изделия. Формы для литья пластмасс под давлением часто называют…
Стеклянные перегородки в офисах, коммерческих помещениях и частных интерьерах — одна из самых последних тенденций. Как и о любом популярном предмете или теме, существуют и негативные мнения, например,…
Многие клиенты не имеют четкого представления об алгоритме работы и структуре коммерческого производства в процессе нашей совместной работы. В этой статье мы рассмотрим основные этапы коммерческого производства, расскажем…
Лекарства нужны всем. Даже у людей, не страдающих серьезными заболеваниями, дома всегда есть аптечка. С другой стороны, люди с хроническими заболеваниями могут позволить себе покупать лекарства. Если у…
Учителя, родители и студенты с увлечением говорят о дистанционном образовании. Одни называют его онлайн-обучением, другие — дистанционным обучением. Довольно часто эти термины используются как синонимы (https://sliwbl.com/). Так являются…
Вывоз различных видов ТКО является предметом регулярных споров между поставщиками услуг по управлению отходами и собственниками, коммунальными службами и регулирующими органами. Суд проанализировал дела, определяющие, обязаны ли поставщики…
Автомобили уже давно перестали быть предметом роскоши. Сегодня автомобили — это необходимое средство передвижения и способ сделать жизнь более комфортной. Однако мировая автомобильная промышленность постоянно стремится превзойти существующие…